KFA Rohový kombinovaný ventil 1/2"×3/8"×3/4" - chróm, 273-010-00
Chrómový kombinovaný rohový ventil 1/2"x3/8"x3/4 pre pripojenie batérie a umývačky riadu




KFA Rohový kombinovaný ventil 1/2" × 3/8" × 3/4" – chróm
Hľadáte spoľahlivé riešenie, ako pripojiť práčku alebo umývačku riadu k existujúcej vodovodnej batérii bez zbytočných komplikácií? KFA rohový kombinovaný ventil je ideálnou voľbou pre každú modernú aj klasickú domácnosť. Spája v sebe vysokú funkčnosť, bezpečnosť a elegantný dizajn.
| ✅ Záruka až 15 rokov |
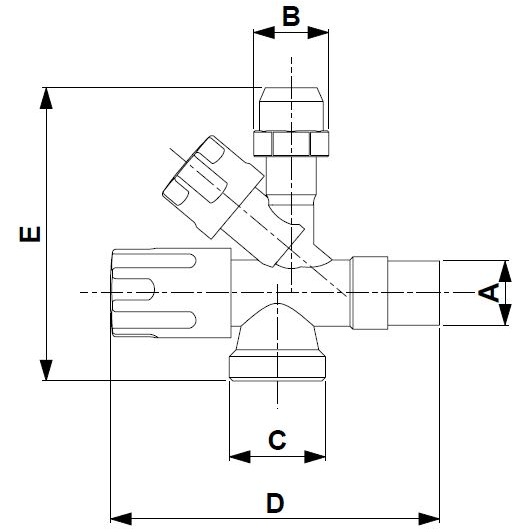
KFA Rohový kombinovaný ventil, rozmery:

| A | 1/2" |
| B | 3/8" |
| C | 3/4" |
| D | 97,5 mm |
| E | 85 mm |
Hlavné výhody produktu - kombinovaný ventil
- Praktické riešenie 2 v 1: Umožňuje pripojiť k jednému vývodu vody dve zariadenia súčasne (napr. umývadlovú batériu a práčku/umývačku).
- Vysoká odolnosť: Vyrobený z poctivej mosadze s kvalitnou chrómovou povrchovou úpravou, ktorá odoláva korózii a mechanickému poškodeniu.
- Univerzálne pripojenie: Vhodný pre flexibilné aj pevné spoje.
- Ochrana majetku: Kvalitná konštrukcia minimalizuje riziko úniku vody a chráni vaše spotrebiče aj kúpeľňový nábytok pred vytopením.
- Ekológia a úspora: Ventil umožňuje nielen rýchle uzavretie prívodu vody, ale napomáha aj k lepšej regulácii a zníženiu spotreby vody.
Estetika, ktorá nenarúša interiér
Pri kombinovaných spojoch sú ventily často na viditeľných miestach. KFA vsádza na vysoký estetický štandard. Chrómový povrch sa dokonale hodí k ostatným kúpeľňovým armatúram a zapadne do moderných, minimalistických aj retro priestorov.
Prečo si vybrať značku KFA?
Armatúra KFA je známa svojou dlhou životnosťou a precíznym spracovaním. Investíciou do kvalitného kombinovaného ventilu predídete nečakaným nákladom na opravy spôsobené netesnosťami lacných náhrad.
Dodatočné parametre
| Kategória: | Rohové ventily kombinované |
|---|---|
| Záruka: | 15 rokov |
| Hmotnosť: | 0.4 kg |
| EAN: | 5907571270250 |
| Veľkosť závitu: | 3/8", 1/2", 3/4" |
| Typ ovládania: | vretenové |
| Materiálové zloženie: | pochrómovaná mosadz |
| Rozmer závitu: | 1/2" |
| Dimenzia tvarovky: | DN 10 |
| Max. tlak: | 10 bar |
| Max. teplota: | 100 °C |
| Normy: | ISO 228 (DIN EN ISO 228, BS EN ISO 228) |
Hodnotenie tovaru
Buďte prvý, kto napíše príspevok k tejto položke.
Diskusia
Buďte prvý, kto napíše príspevok k tejto položke.
Len registrovaní používatelia môžu pridávať príspevky. Prosím prihláste sa alebo sa zaregistrujte.
KFA Armatura: Tradícia a inovácie od roku 1922
KFA Armatura je popredným výrobcom moderných riešení v oblasti sanitárnej techniky a vykurovacích zariadení. Príbeh značky sa začal písať už v roku 1922 otvorením továrne v krakovskej štvrti Łagiewniki. Pôvodné zameranie na precízne odlievanie neželezných kovov sa počas uplynulého storočia transformovalo do výroby špičkových armatúr, ktoré dnes definujú štandardy kvality a dizajnu.
Prečo si vybrať produkty KFA Armatura?
- Viac ako 100 rokov skúseností v odbore.
- Vysoká odolnosť vďaka hlbokým znalostiam metalurgie a spracovania kovov.
- Moderný dizajn, ktorý sleduje aktuálne svetové trendy v bývaní.
- Záruka kvality, za ktorou si stoja tisícky spokojných domácností po celej Európe.
